| 应用背景:实际应用中,标准的六角形螺母常常会因为拧紧时用力过大或者使用时间过长、螺母的六角形外表面被腐蚀,使表面遭到破坏。螺母被破坏后,使用普通的传统型扳手往往不能再松动螺母,有时甚至会使情况更加恶化,也就是说螺母外缘的六角形在扳手作用下破坏更加严重,扳手更加无法作用于螺母。
传统型扳手之所以会损坏螺母,其主要原因是扳手作用在螺母上的力主要集中于六角形螺母的某两个角上,如图所示:
在这种情况下,我们需要一种新型的扳手来解决这一问题。
有何经济效益和社会效益:用扳手拧紧或松动螺母是机械领域中的一个基本操作。以新型扳手取代传统型扳手,必将会使机械安装工作更加简单、方便,提高机械安装工作的工作效率。
问题描述:
在拧紧或松动螺母的过程中,扳手同时会损坏螺母的六角形表面。使用扳手时用力越大,螺母损坏就会越严重。而使得扳手作用于螺母上的力大大降低,降低了工作效率。
在这一系统中存在的技术矛盾为:若想通过改变扳手形状降低扳手对螺母的损坏程度,就可能会使扳手制造工艺复杂化。
如果可以找到一种制造不是很复杂,而且又可以避免对螺母的严重损坏的扳手,无疑是解决这一问题的最佳途径。
解决思路和关键步骤:
在应用TRIZ解决这一问题时,我们首先必须明确判定出存在于系统中对立的技术特性。在现有设计中,扳手在作用于螺母时会损坏螺母是存在于现有设计中的一个重要缺陷。而这一缺陷则恰恰可以提示我们找出应该解决的技术矛盾以改进现有的传统设计。
若想彻底解决这一对技术矛盾,我们首先需要将我们所希望的“降低螺母的损坏程度”转换为TRIZ语言——矛盾矩阵(Contradiction
Matrix)中的某一个或几个参数。在这一问题中,很明显,“副作用(Object Generated Harmful
Factors)”就是我们希望提高的技术特性。
现在,我们需要分析在降低螺母的损坏程度时,又有哪些技术特性恶化。相对于确定得以改善的技术特性而言,确定恶化的技术特性则比较难。最简单的方法是分别将39个技术特性对号入座,寻找适合的技术特性。
这里我们使用的是一种较为系统的方法。首先,我们问一个问题:“如果没有任何目标,我们该如何解决这一问题?”
根据传统型扳手,我们可以尝试从下列几个方面得到答案:
a)使扳手的各个表面与螺母的外表面完全吻和,从而使得用扳手拧螺母时扳手的表面与螺母表面完全接触,以避免螺母的角与扳手平面的接触。
b)在扳手上增加一个“小附件”,使得扳手的表面可以自由移动以和不同的螺母表面相接触。
c)使用比螺母材料硬度小的材料制造扳手,这样可以在操作过程中损坏扳手而不是螺母。
严格说来,这些都不是扳手设计过程中的“恶化的技术特性”,我们要把它转化成为TRIZ语言才可以使用矛盾对立矩阵。
在解决这一问题时,第一个回答“改变扳手的形状”应是最实际的一个解决方案。然而,改变扳手的形状则不免要增加扳手制造的复杂程度。因此,“制造性(Manufaturability)”即为恶化的技术特性。
根据上述分析可得到下面的结论:
有待提高的技术特性(Improving feature):
副作用(Object generated harmful factors, Parameter 31)
恶化的技术特性(Worsening feature):
制造性(Manufaturability、Parameter 32)
最终结果:
技术矛盾特性对比表提供了四个创新原理及相应的解决实例以帮助设计者完成设计。这四个创新原理分别为:
1、4#创新原理:对称性(Asymmetry)
建议:如果一个物体是不对称的,增强其非对称性。
解决方向:扳手本身是一个不对称的形状,改变其形状,加强其形状的不对称程度。
2、17#创新原理:一维变多维(Another dimension)
建议:将一维直线形状的物体变换成为二维平面结构或者是三维空间结构的物体。
解决方向:改变传统扳手上、下钳夹的两个直线平面的形状,使其成为曲面。
3、34#创新原理:零件的废弃或再生(Discarding and recovering)
建议:废弃或改造机能已完成或没有作用的零部件。
解决方向:去除在扳手工作过程中对螺母有损害的部位,使其螺母的六角形外表面的尖角而无法破坏螺母的六角形外表面。
4、26#创新原理:代用品(Copying)
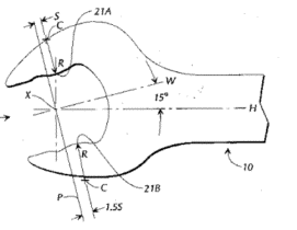
根据4、17和34创新原理,这一问题的最终解决方案原理图如下图:

在上述设计中,H为扳手手柄的中心线,W为扳手上、下两个钳夹的平分线。X为两条线的交点,直线P通过点X且与直线W向垂直。上、下两个钳夹各有一个突起。由图示可以看到,上钳夹上的凸起的圆心C点到直线P的距离为S,而下钳夹上的凸起的圆心C点到直线P的距离为1.5S。因此扳手的上、下两个钳夹并不对称。
在上、下钳夹的突起两端各有一个凹槽与之平滑连接。
这一设计可解决使用传统扳手时遇到的问题。当使用扳手时,螺母六角形表面的其中两条边刚好与扳手上、下钳夹上的突起相接触,使得扳手可以将力作用在螺母上。而六角形表面的与扳手接触的角则刚好位于扳手上的凹槽中,因而不会有力作用于其上。螺母不会被损坏。如图所示。

|