您可以捐助,支持我们的公益事业。

1元 10元 50元





认证码:  验证码,看不清楚?请点击刷新验证码 必填



文章 咨询 工具 课程  
会员   
   
LLM大模型与智能体开发实战
12月28-29日 北京+线上
用SysML和EA系统建模
12月25-26日 北京+线上
需求分析与管理
2026年1月22-23日 北京+线上
     
   
 订阅
MCU如何通过UART进行OTA升级的?
 
  50   次浏览      6
 2025-12-10
 
编辑推荐:
文章主要介绍了基于AT32微控制器的OTA升级实现,包括硬件配置、软件设计、内存地址分配、通信协议等,希望对你的学习有帮助。
本文来自于汽车开发圈,由火龙果软件Alice编辑,推荐。

OTA升级已经不是什么新鲜事,现在大多数物联网终端设备,基本具备这个功能。今天以AT32为例给大家分享一下OTA升级的详细流程。

概述

空 中下载技术OTA(Over-the-Air Technology)是用户自己的程序在运行过程中对User Flash的部分区域进行烧写,目的是为了在产品发布后可以方便地通过预留的通信口,对产品中的固件程序进行更新升级。通常实现OTA功能时,即用户程序运行中作自身的更新操作,需要在设计固件程序时编写两个项目代码,第一个项目程序为Bootloader区域,第二个项目程序App代码为真正的功能代码,执行应用和升级。这两部分项目代码同时烧录在User Flash中。

图1. OTA代码执行流程

图片

在上图所示流程中,MCU复位后,从0x08000004地址取出复位中断向量的地址,并跳转到复位中断服务程序,在运行完复位中断服务程序之后跳转到Bootloader的main函数,如图标号①所示;在执行完Bootloader以后(App代码为图中FLASH灰底部分App程序的复位中断向量起始地址为0x08000004+N+M),跳转至App程序的复位向量表,取出App程序的复位中断向量的地址,并跳转执行App程序的复位中断服务程序,随后跳转至App程序的main函数,如图标号②和③所示,同样main函数为一个死循环,并且注意到此时AT32的FLASH,在不同位置上,共有两个中断向量表。

在main函数执行过程中,如果CPU得到一个中断请求,PC指针仍强制跳转到地址0x08000004中断向量表处,而不是App程序的中断向量表,如图标号④所示;程序再根据我们设置的中断向量表偏移量,跳转到对应中断源新的中断服务程序中,如图标号⑤所示;在执行完中断服务程序后,程序返回main函数继续运行,如图标号⑥所示。 通过以上两个过程的分析,我们知道OTA程序必须满足两个要求:

1) App程序必须在Bootloader程序之后的某个偏移量为x的地址开始。

2) 必须将App程序的中断向量表相应的移动,移动的偏移量为x。

AT32 USART OTA 快速使用方法

硬件资源

文档中是用 AT-START-AT32F403A实验板的硬件条件为例,OTA demo源代码还包括AT32其他型号,用户只需编译对应型号工程烧录于AT-START实验板运行即可。

1) 指示灯LED2/LED3/LED4

2) USART1(PA9/PA10)

3) AT-START实验板

软件资源

1) tool_release

● IAP_Programmer.exe,PC机tool,用于演示OTA升级流程

2) source_code

● Bootloader,Bootloader源程序,运行LED2闪烁 ● App_led3_toggle,App1源程序,运行LED3闪烁

● App_led4_toggle,App2源程序,运行LED4闪烁

注:工程基于keil v5建立,若用户需要在其他编译环境上使用,请参考对应BSP目录AT32F403A_407_Firmware_Library_V2.x.x \project\at_start_f403a\templates中各种编译环境(例如IAR6/7/8,keil 4/5,eclipse_gcc)进行对应修改即可。

OTA Demo 使用

本文档描述了两种常用的 OTA应用demo,template app和dual app,后面章节会分别介绍。

1) 打开Bootloader工程源程序,选择对应MCU型号的target编译后下载到实验板

2) 打开IAP_Programmer.exe

3) 选择正确的串口、APP下载地址和bin文档,点击Download下载,如下图

4) 观察LED2/3/4闪烁,LED2闪烁-Bootloader工作,LED3闪烁-App1工作,LED4闪烁-App2工作

图2. IAP demo上位机

图片

Template app OTA程序设置

地址分布

图3. Flash地址分配

图片

注:Bootloader区域最后一个扇区,用于存放防止升级过程出错(掉电等异常情况)的flag,用户编译修改Bootloader时,要保证不覆盖flag的地址。

执行流程

OTA分为Bootloader、App和 Template 三部分,应用在App中执行,Template仅作为新App固件数据的临时存放空间。程序执行整体流程框图如下:

图 4. 程序执行流程

图片

Bootloader project 设置

1) Keil设置

图5. Bootloader project中address 1在Keil设置

图片

2)  Bootloader源程序修改ota.h文件中

图6. Bootloader project中address 2在程序中设置

图片

App project 设置

OTA demo提供了2个App程序供测试用,皆以address 2(0x800 4000)为起始地址。App1 LED3闪烁,App2 LED4闪烁。以App1为例,设计步骤如下:

1)  Keil工程设置

图7. App project中address 2在Keil设置

图片

2) A pp1源程序设置

图8. App project向量表偏移在程序中设置

图片

3) 编译生成bin文件

通过User选项卡,设置编译后调用fromelf.exe,根据.axf文件生成.bin文件,用于OTA更新。通过以上3个步骤,我们就可以得到一个.bin的APP程序,通过Bootloader程序即可实现更新。

4) 开启debug app code功能

如果在设计App code过程中需要对App project进行单独调试,请按照以下操作。

● 先下载Bootloader工程

● 再调试App工程

Dual app OTA与程序设置

地址分布

图9. Flash地址分配

图片

注:Bootloader区域最后2个扇区,用于存放App是否正常的flag,用户编译修改Bootloader时,要保证不覆盖flag的地址。

执行流程

OTA分为Bootloader、App1和App2三部分,应用在App1或App2中执行。程序执行整体流程框图如下:

图10. 程序执行流程

图片

Bootloader project设置

3) Keil设置

图11. Bootloader project中address 1在Keil设置

图片

4) Bootloader源程序修改ota.h文件中

图12. Bootloader project中address 2在程序中设置

图片

App project设置

OTA demo提供了2个App程序供测试用,app_led3_toggle以0x800 4000为起始地址,app_led4_toggle以0x8080000为起始地址。App1 LED3闪烁,App2 LED4闪烁。以App1为例,设计步骤如下:

5) Keil工程设置

图13. App project中address 2在Keil设置

图片

6)  App1源程序设置

图14. App project向量表偏移在程序中设置

图片

7) 编译生成bin文件 通过User选项卡,设置编译后调用fromelf.exe,根据.axf文件生成.bin文件,用于OTA更新。通过以上3个步骤,我们就可以得到一个.bin的APP程序,通过Bootloader程序即可实现更新。

8) 开启debug App code功能 如果在设计App code过程中需要对App project进行单独调试,请按照以下操作。

●  先下载Bootloader工程

●  再调试App工程

Bootloader/App与上位机串口通信协议

程序与上位机通信,接收固件升级数据,上位机端和嵌入式端通信协议如下:

1) 上位机通信协议

图15. 上位机通信协议

图片

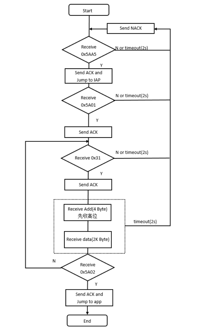
2)  嵌入式端下位机通信协议

图16. 下位机通信协议

图片
   
50 次浏览       6
相关文章

中央计算的软件定义汽车架构设计
汽车电子控制系统中的软件开发过程
一文读懂汽车芯片-有线通信芯片
OTA在汽车上有哪些难点痛点?
相关文档

汽车设计-汽车的整体结构及动力系统
自动驾驶汽车软件计算框架
SysML在汽车领域的应用实践
电子电气架构-大陆汽车系统架构平台
相关课程

AutoSAR原理与实践
功能安全管理体系(基于ISO26262)
MBSE(基于模型的系统工程)
基于SOA的汽车电子架构设计与开发

最新活动计划
企业架构助力业务与IT协作 1-17[在线]
LLM大模型与智能体开发实战 12-28[在线]
AI大模型编写高质量代码 1-14[在线]
AI原生应用的微服务架构 1-22[在线]
需求分析与管理 1-22[北京]
视觉大模型及其应用 1-30[在线]
UAF与企业架构 2-3[北京]
 
 
最新文章
ASPICE中配置管理是个什么东西?
了解软件安全分析与组件鉴定
掌握Autosar ComStack的精髓!
基于整车功能的正向诊断需求开发
搞定Autosar SWC开发秘籍,码住!
汽车OTA更新的系统性威胁评估
最新课程
基于SOA的汽车电子架构设计与开发
Auto SAR原理与实践
AUTOSAR架构与实践(从CP到 AP )
AUTOSAR架构建模方法与工具(EA)
ASPICE4.0核心开发过程指南
MBSE(基于模型的系统工程)
更多...   
成功案例
某知名车企 AUTOSAR应用设计与开发
吉利汽车 MBSE工程体系汽车建模及评估
某整车企业 《功能需求分析与设计》
富奥汽车零部件 建模工具EA
零跑汽车 建模工具EA及服务
北汽福田 建模工具EA
小鹏汽车 建模工具EA
更多...