| 编辑推荐: |
| 本文介绍了网关的请求流程,Eureka
服务治理、Config 配置中心、Hystrix 监控、服务调用链路、ELK 日志链路、统一格式返回等相关。
本文来自于cnblogs,由火龙果软件Anna编辑、推荐。 |
|
目前公司使用的 Spring Cloud 整个技术组件,基本包含了上面图中所包含的,不得不说,Spring
Cloud 整个生态真的很强大,使用起来也很方便有效。
后面有时间再针对每个组件进行使用解读,这篇文章主要说下 Spring Cloud 架构的链路图,顺便把自己的思路整理下来,以备查阅。

在 Spring Cloud 整个组件库中,Spring Cloud Zuul 是最容易被忽视,但也是最重要的,Spring
Cloud Zuul 可以和 Eureka 注册中心集成,我们目前使用 Spring Cloud Zuul
的功能如下:
Filter 过滤器
Router 路由
Ribbon 负载均衡
Hystrix 熔断
Retry 重试
有些功能是 Spring Cloud Zuul 自带的,比如 Filter 和 Router,有些是结合
Spring Cloud 其他组件,比如 Ribbon 和 Hystrix。
这里重点介绍下 Filter 过滤器,分为四个过滤类型:
pre:Zuul 转发请求之前执行,我们目前的实现是AccessTokenFilter,用于 oAuth2.0
JWT 的授权验证。
route:Zuul 路由时执行,目前项目没用到。
post:Zuul 路由转发后执行,也就是已经请求成功了后端服务,我们目前的实现是CustomResponseFilter,用于统一请求格式的封装,比如
code/msg/data 等。
error:以上过滤器发生错误时执行,我们目前的实现是CustomErrorFilter,用于拦截过滤器执行的出现的错误,然后统一格式封装返回,另外,error
过滤器好像并不能捕获后端服务执行出现的错误。
另外,关于 oAuth2.0 JWT 的授权验证,实现的方式有两种:
授权的配置在后端服务中(每个服务都需要当作 Resource Server 进行配置,需要配置公钥,接口的授权具体配置在注解中),Zuul
只做转发,并不进行授权的验证。
授权的配置在 Zuul 中,也就是把 Zuul 当作 Resource Server,后端服务不需要进行任何处理,Zuul
中具体的实现就是AccessTokenFilter,里面的逻辑是手动解析 JWT,然后判断是否正确,以及解析出用户信息/Scope/Role,然后根据当前的请求
API,对授权 Map 中的配置进行匹配,如果匹配错误,直接抛出 401 授权错误。
我们目前采用的是第二种方式,这两种方式都有利有弊,关键在于自己的取舍,为什么采用第二种方式?目的就是发挥
Zuul 的作用,对外网关进行统一授权验证。
关于授权 Map,里面存储了所有服务接口的配置,示例配置:
private static
final Map ROUTE_MAPS;
static
{
ROUTE_MAPS = new HashMap<String, String>();
ROUTE_MAPS.put("eureka-client/home",
"read:ROLE_ADMIN");
ROUTE_MAPS.put("eureka-client/user",
"read:ROLE_ADMIN");
ROUTE_MAPS.put("eureka-client/error",
"read:ROLE_ADMIN");
} |
这是我们目前的配置,是一个静态的 Map,后面会存储在 Spring Cloud Config 配置中心,Zuul
启动时进行加载,利用 Spring Cloud Bus 动态刷新。
关于 Zuul 网关,其实还有很多需要说的,后面有机会再进行针对说明。
2. Eureka 服务治理

Eureka 遵循的是 AP 原则(服务可用性和分区容错性),是服务治理最理想的遵循 CAP 分布式原则。
Eureka 集群中的节点是彼此平级,不像 Consul 有 master/worker 之分,集群中的
Eureka 节点彼此两两注册,所以,Eureka 集群最好部署三个节点,这也是我们目前的部署方式。
另外,Eureka 的自我保护机制,可以参考这篇文章。
服务之间的相互调用,负载有两种使用方式:
Feign:基于声明式,顾名思义,就是需要定义接口,就像我们平常使用对象调用一样。
Ribbon:软负载,通过往 RestTemplate 中注入负载 Handler,然后通过负载算法选取调用(通过
Eureka 获取服务注册信息)。
我们目前打算使用 Ribbon 负载方式,为什么?看下面代码就知道了:
restTemplate.getForObject("http://eureka-client/hello",
String.class);
3. Config 配置中心

我们目前配置中心使用的是 Spring Cloud Config,当然你也可以使用功能更强大的 Polly(携程开源),但
Config 目前也能满足我们的需求,存储仓库我们现在使用的是 Git。
Config 配置中心提供了数据加密功能,你可以使用 RSA 的加密方式,这样存储在 Git 中的配置都是密文形式,Config
Client 获取加密配置的时候,Config Server 会自动进行解密返回。
配置中心的使用场景,我们目前主要是两个地方:
项目启动的配置信息,比如数据库的连接字符串等。
业务服务的配置信息,也就是业务相关的配置。
另外,需要说明的是,默认情况下,如果 Git 中的配置更新了,Config Client 不会进行更新配置,我们目前的解决方式是,使用
Spring Cloud Bus 进行动态刷新配置(Config Server 中配置),具体的流程:
Git 中添加 WebHooks 脚本,比如curl -X POST http://manager1:8180/bus/refresh,当
Git 仓库中的配置更新后,自动执行。
Config Server 中配置 Spring Cloud Bus,接受 Git 的配置刷新请求,然后利用
RabbitMQ 广播通知所有的 Config Client 订阅方,刷新配置信息。
4. Hystrix 监控

Hystrix 主要是用于服务熔断/降级/隔离处理,Hystrix 配置在调用方,当被调用方服务不可用时,触发
Hystrix 熔断,会执行指定的 Fallback 方法,进行特殊处理。
我之前以为,Hystrix 熔断的触发条件是服务不可用,也就是服务请求超时(比如服务挂掉了),但我自己测试了下,服务出现
500 错误,也会触发 Hystrix 熔断,而且会自动忽略 Hystrix 的超时时间设置。
我们目前使用 Hystrix,主要有两个地方:
内部服务调用:可以对某个 API 接口进行熔断处理。
Zuul 网关使用:就是当 Zuul 路由转发调用时,但有个局限性,就是只能对服务进行熔断,并不能针对某个
API 接口熔断。
上面图中,主要画的是 Hystrix 的监控流程,我们目前主要使用 RabbitMQ 进行采集传输,turbine-server
进行数据流的聚合,hystrix-dashboard 进行图形化的展示。
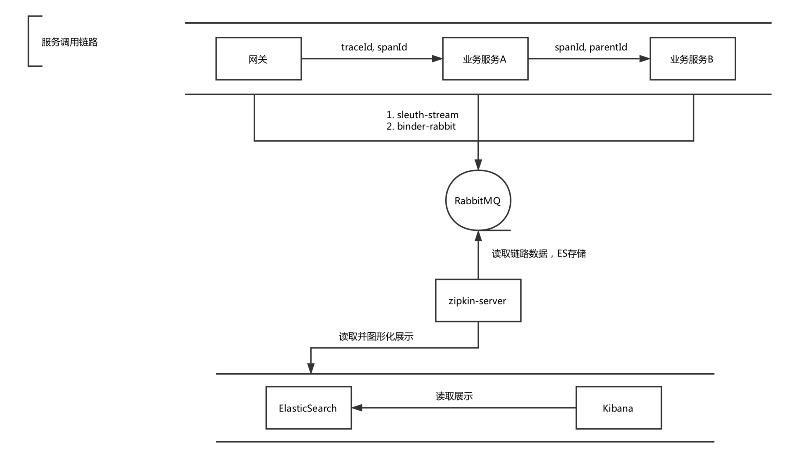
5. 服务调用链路

服务调用链路的概念,就是当服务请求发起时,记录整个请求链路的数据,以备查询。
目前市面上,几乎所有服务调用链路的实现,理论基础都是基于 Google Dapper 的那篇论文,其中最重要的概念就是
traceId 和 spanId。
traceId 记录整个服务链路的 ID,由首次请求方创建,服务链路中唯一。
spanId 记录当前服务块的 ID,由当前服务方创建。
parentId 记录上一个请求服务的 spanId。
下面我描述下,我们目前的服务调用链路过程:
H5 发起请求,到 Zuul 网关,Zuul 创建全局的 traceId 和自己的 spanId,然后携带这些数据到业务服务
A,并利用 Spring Cloud Sluth 传输到 RabbitMQ。
业务服务 A,接收到 Zuul 传输的 traceId 和 spanId,然后把 Zuul 的 spanId
设置成 parentId,并生成自己的 spanId,然后携带这些数据到业务服务 B,并利用 Spring
Cloud Sluth 传输到 RabbitMQ。
....
上面图中,详细说明了整个服务调用链路的过程,这边再说下使用的技术栈:
Spring Cloud Sluth:和 SkyWalking 的探针概念比较类似,每个服务都进行配置,收集当然服务的请求数据(traceId
和 spanId),然后利用stream-sluth和binder-rabbit组件,将请求数据传输到
RabbitMQ。
Spring Cloud Zipkin:主要用于请求链路的 UI 展示,Zipkin 会从 RabbitMQ
读取请求数据,然后存储到 ElasticSearch 中,然后下次显示直接从 ElasticSearch
中读取。
Kibana:Kibana 也可以显示 ElasticSearch 中的请求数据,只不过不是图形化的,需要索引配置创建。
6. ELK 日志链路

上面图中已经很详细介绍了下 ELK 的流程,ELK 默认技术栈里是没有 Filebeat 的,Logstash
用作日志收集的时候,CPU 和内存会占用资源比较大,所以我们使用轻量化的 Filebeat 进行日志的收集,Filebeat
部署在每个业务服务所在的服务器,然后将收集到的日志数据传输到 Logstash,Logstash 可以部署两到三台服务器上,用作日志的过滤和分析工作,然后再将处理后的日志数据,传输到
ElasticSearch 存储。
7. 统一格式返回

关于统一格式返回,图中已经详细的说明了 |