| 编辑推荐: |
MEC,即多接入边缘计算,作为具有运营商特色、网络侧边缘部署的一种边缘计算而备受关注。
本文来自于雷锋网,由火龙果软件Anna编辑推荐。 |
|
雷锋网按:根据 Cisco的预测报告,到2021年全球IP流量将达到3.3ZB,IP视频流量将占所有消费者互联网流量的82%;此外,移动数据流量从2016年至2021年间将增长7倍,到2021年流量将达到每月48.3EB。
试想一下,如果将海量的数据全部传输到云端,其将对网络带宽、流量成本控制、云端存储能力带来巨大挑战。而边缘计算,更适合低时延、高带宽、高可靠、海量连接、异构汇聚和本地安全隐私保护等特殊业务要求的应用场景。
说起边缘计算(Edge computing),尽管这是一个科技领域的热门词汇,但许多人对此还是知之甚少。
相对云计算而言,边缘计算是指收集并分析数据的行为发生在靠近数据生成的本地设备和网络中,其又被叫做分布式云计算或第四代数据中心。
在各种边缘计算技术与产品中,其中,MEC作为具有运营商特色、网络侧边缘部署的一种边缘计算而备受关注。此外,MEC作为承接5G、IoT应用落地的关键一环,近年来在越来越多的垂直行业落地。
什么是MEC?
MEC,现称作多接入边缘计算(Multi-AccessEdgeComputing),其定义和框架均来自欧洲电信标准协会ETSI,其初创成员包括:惠普、沃达丰、华为、诺基亚、Intel以及Viavi等。
根据ETSI 对 MEC的描述,其是为应用程序开发人员和内容提供商提供了云计算功能,以及在网络边缘的IT服务环境。这种环境的特点是超低延迟和高带宽,能实现通过无线网络对应用程序中的信息进行实时访问。

关于这个技术的起源和发展,早在2014年,ETSI 就成立了移动边缘计算规范工作组,正式宣布推动MEC标准化,在早期,这个技术被叫作移动边缘计算(Mobile
Edge Computing)。
到了2016年,ETSI 把MEC的概念扩展为多接入边缘计算(Multi-AccessEdgeComputing),将边缘计算从电信蜂窝网络进一步延伸至其它无线接入网络,支持3GPP和非3GPP多址接入。
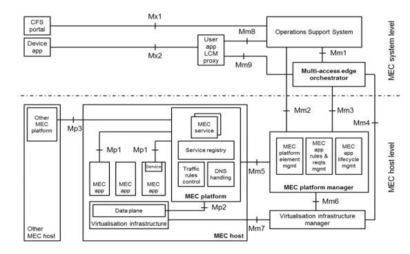
据2019年GTI(TD-LTE全球发展倡议组织)发布的5G MEC白皮书,MEC(多接入边缘计算)体系架构如下:

ETSI定义的MEC基本架构
从宏观来讲,MEC的基本架构中不同的功能实体可划分为三个层级,网络层(Networks Level)、移动边缘主机层(Mobile
Edge Host Level)、移动边缘系统层(Mobile Edge System Level)。
雷锋网了解到,移动边缘系统包括在运营商网络或运营商网络子集内运行移动边缘应用程序所需的移动边缘主机和移动边缘管理。
· 移动边缘主机是一个实体,它包含一个移动边缘平台和一个虚拟化基础设施,后者提供计算、存储和网络资源,用于运行移动边缘应用程序;
· 移动边缘管理包括移动边缘系统级管理和移动边缘主机级管理。其中,移动边缘主机级管理包括移动边缘平台管理器和虚拟化基础设施管理器。
据公开资料显示,MEC的基础架构主要包括MEC硬件资源、MEC虚拟化层,应用平台由MEC虚拟化管理器和MEC应用平台服务组成,前者提供了IaaS功能,后者则提供了TOF、RNIS等中间件服务。
现阶段,ETSI 将继续对之前推出的标准进行完善,同时推出一批新的标准,主要包括MEC对3GPP和非3GPP的接入支持、虚拟化支持、类型拓展等。
5G架构下MEC的部署
目前,不论是国内还是国外,MEC均未有规模的商用部署。其商业化规模进程较慢,一方面是技术标准成熟度问题,另一方面是其面临业务驱动、技术路线、运维管理等具体问题。
雷锋网了解到,目前中国联通联合BAT、中兴通讯、Intel等合作伙伴,已启动15个省市的Edge-Cloud规模试点,而中国移动也已在10个省、20多个城市现网开展多种MEC应用试点。
作为5G网络的关键技术之一,MEC在距离用户最近的位置提供了业务本地化和边缘业务移动性能力,进一步减小业务时延,提高网络运营效率、提高业务分发以及改善终端用户体验等。其采用灵活的分布式网络体系结构,把服务能力和应用推进到网络边缘,极大地缩减了等待时间。
华为云核心网产品线总裁石冀琳曾表示,MEC是运营商数字化转型的利器,通过将核心网处理能力部署到边缘,能方便更多应用“上车”,形成闭环业务。
现阶段来看,MEC的部署和应用已成为5G落地中的重要课题,然而,MEC并不只是在5G网络中才有的概念。

在4G网络中,由于MEC提出时LTE网络标准已完成制定,所以4G网络下的MEC部署目前大多采用非标的串联部署或厂家私有标准部署模式,在计费、监听、业务移动性支持方面并不完善。
而在5G网络中,3GPP的5G核心网在标准上原本就支持用户数据面的下沉及边缘计算的部署,能很好地解决目前4G网络MEC部署时存在的计费监听等问题。

然而,尽管5G标准其先天基因与MEC的部署比较契合,但也可能会面临一个问题:5G近期部署如果采用基于4G核心网升级改造的NSA组网方案,那么这种情况下,为了支持5G
eMBB 等发展,运营商是否大量建设部署MEC系统以及为解决计费监听等问题对4G核心网进一步升级,就成为运营商需要解决的难题了。
中国电信北京研究院视频与边缘云研发部主任杨鑫曾表示:MEC与一般的5G 网元不通, 天然具有“IT化、业务驱动”特性,不完全是标准驱动和定义,各家运营商应遵循通用的标准,结合自身需求打造适合自己的MEC平台。
MEC与物联网的结合
物联网(IoT)是实现行业数字化转型的重要手段,并将催生新的产业生态和商业模式。而借助于边缘计算可以提升物联网的智能化,促使物联网在各个垂直行业落地生根。
作为边缘计算其中的一种,MEC与物联网进行结合将会产生怎样的效果?

关于物联网这个技术名词,从最早的萌芽阶段发展至今,早已不是一个新鲜词汇。由于其包含的技术门类之多,产业链长,入局企业多,可以说尽管火爆了很多年,但却一直未能真正进入大规模落地阶段。
一般来讲,物联网分为三个层次,感知层、网络层和应用层。感知层包含:传感器、无线定位、自动识别(RFID)技术等;而网络层包含:3/4/5G、LPWAN、蓝牙、Wi-Fi、ZigBee等;至于应用层,则为各种垂直细分的应用,比如智慧园区、自动驾驶、智慧工业、智能家居等具体的应用案例。
当把MEC用在智慧园区中,MEC可帮助园区的视频和IT应用减少流量迂回,降低传输时延,提供更安全的数据处理环境等;而在自动驾驶领域,MEC平台借助5G技术能提供给车队高精地图、视野共享、智能分析及连续切换等,辅助自动驾驶,提供更精准、更安全、零中断的驾驶体验。
据公开资料,百度智能云已通过边云融合技术有效支撑了V2X产品在5G和MEC条件下的落地,在路侧通过智能边缘Baidu
Intelligent Edge/BIE实现了路面状况和行驶车辆的结构化信息实时上传,在平台侧通过智能云天工平台实现了大规模时序数据的整合,并借助流式计算完成道路和交通信息的分析整合。
在产业界不断的探索中,MEC已进入商用阶段,各大运营商开展了一系列MEC试点和部署,其在越来越多的垂直行业落地。华为云核心网产品线研究部部长周艳曾表示,华为从行业使能、技术创新、产业推动三个方面布局MEC。在行业使能方面,华为在大视频、智能电网、企业园区、AR/VR、智慧交通等领域已开启了商用或试点。
雷锋网了解到,一般情况下,物联网设备在处理器和内存容量方面通常是受限的,并且当物联网系统连接大量设备的情况下,会产生大量流量,所以需要MEC服务器连接到靠近设备的移动网络来收集各种物联网设备的信息,提供分析处理能力并降低延迟响应时间。
再者,MEC可用于远程连接和设备控制,提供实时配置和分析,并使聚合和分布的物联网服务都成为高度分布式的移动基站环境,使应用程序能够实时响应。此外,MEC服务器还能给一些服务提供额外的计算和存储,如服务的聚合和分配、设备信息的分析、基于分析结果的决策逻辑、数据库日志记录、对终端设备的远程供应和访问控制等。 |