| 编辑推荐: |
本文详细介绍了5G基本网络结构,系统设计原则,
设计的功能实体,设计的接口以及5G协议栈,希望对您的学习有所帮助。
本文来自于简书,由火龙果软件Alice编辑推荐。 |
|
一、基本网络结构
1.1 整体架构
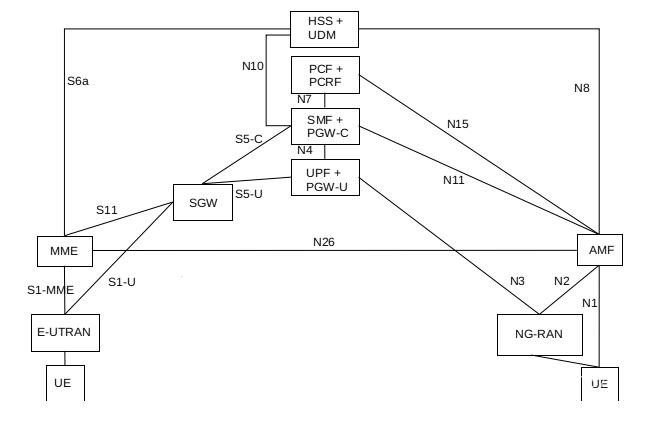
5G系统由接入网(AN)和核心网(5GC)组成(38.300)。若考虑NSA(非独立组网)场景,则还需要考虑4G的网元。

图1:Overall Architecture
AN有两种:
gNB, 为UE提供NR用户面和控制面协议终结点。
ng-eNB, 为UE提供E-UTRA的用户面和控制面协议的终结点。
1.2 网元基本功能
各网元功能详细描述太长,具体见3gpp 38.300,大致功能如下图:

图2:Functional Split between NG-RAN
and 5GC
1.3 AN网络结构(38.401)
每个逻辑gNB 由一个gNB-CU和若干个gNB-DU组成。每个gNB-CU和gNB-DU通过F1逻辑接口连接。

图3:gNB Overall architecture
一般来说一个gNB-DU只连接一个gNB-CU。但是为了实现的灵活性,每个gNB-DU也可能连接到多个gNB-CU。
一个gNB CU中的控制面和用户面是分离。一般只有一个CP,但是允许有多个UP。要注意的是,gNB-CU及连接的若干gNB-DU作为一个整体逻辑gNB对外呈现的,只对其他的gNB和所相连的5GC可见。

图4:Overall architecture for separation
of gNB-CU-CP and gNB-CU-UP
3GPP给了一种参考的网元部署方式。考虑到了gNB间的XN连接,以及与核心网的NG连接。

图4:Example deployment of an Logical
gNB/en-gNB
二、系统结构(23.501)
2.1 系统设计原则
5G系统结构采用NFV/SDN以支持数据连接和业务灵活部署, 促使基于业务的控制面网络功能和概念互动:
用户面功能和控制面功能分离, 允许独立的可扩展性,可演进性及可灵活部署.比如可选择采用集中式或者分布式的方式.
功能设计模块化, 比如采用灵活高效的网络切片.
无论在什么地方适用,都可以将相应的过程(网络功能之间的互动)定义为业务, 以便可以复用他们.
如果有需要都可以使相应的网络功能和其他的NF互动. 5G结构并没有排除中间功能帮助路由控制面信息.
(比如 DRA).
缩小接入网络(AN)和核心网络(CN)的依赖性.这个结构是一个公共接入网AN连接汇聚的核心网. 而AN可以是不同的接入类型比如3GPP接入网和non-3GPP接入网.
支持统一的鉴全架构.
支持 “stateless” 网络功能NF, 这些网络功能的计算资源和存储资源解耦.
支持能力开放
同时支持本地和集中化的业务. 为了支持低延迟业务并访问本地数据网络,用户面功能部署需要尽可能的靠近介入网络AN.
在VPLMN支持基于LBO和归属地路由的漫游方式.
2.2 设计的功能实体
5G系统结构定义了如下网元功能实体 (NF):
UE: 用户终端设备User Equipment (UE)
RAN: 接入网络(Radio) Access Network (RAN)
AMF: 接入及移动性管理功能Access and Mobility Management Function
UPF: 用户面功能User plane Function (UPF)
AUSF: 鉴权服务功能Authentication Server Function
DN: 数据网络Data Network (DN), 比如运营商业务,互联网接入或者第三方业务等。
UDFS: 非结构性数据存储功能Unstructured Data Storage Function
NEF: 网络业务呈现功能Network Exposure Function (NEF)
NRF: 网元数据仓库功能NF Repository Function (NRF)
NSSF: 网络切片选择功能Network SliceSelection Function (NSSF)
PCF: 策略控制功能Policy Control function (PCF)
SMF: 进程管理功能Session Management Function (SMF)
UDM: 统一数据管理功能Unified Data Management (UDM)
UDR: 统一数据仓库功能Unified Data Repository (UDR)
AF: 应用层功能Application Function (AF)
EIR: 5G设备标识注册设备5G-Equipment Identity Register (5G-EIR)
2.3 设计的接口
2.3.1 基于业务service-based,控制面相关的网元功能实体能够授权其他网元来访问它的业务。
5G系统结构中包含如下基于业务service-based的接口
Namf: Service-basedinterface exhibited by AMF.
Nsmf: Service-basedinterface exhibited by SMF.
Nnef: Service-basedinterface exhibited by NEF.
Npcf: Service-basedinterface exhibited by PCF.
Nudm: Service-basedinterface exhibited by UDM.
Naf: Service-basedinterface exhibited by AF.
Nnrf: Service-basedinterface exhibited by NRF.
Nnssf: Service-basedinterface exhibited by NSSF.
Nausf: Service-basedinterface exhibited by AUSF.
Nudr: Service-basedinterface exhibited by UDR.
Nudsf: Service-based interfaceexhibited by UDSF.
N5g-eir: Service-based interface exhibited by 5G-EIR.
2.3.2 基于参考点reference point ,点对点网元功能业务之间互作用点。
5G结构中定义了如下参考点:
N1: Referencepoint between the UE and the AMF.
N2: Referencepoint between the ?AN and the AMF.
N3: Referencepoint between the ?AN and the UPF.
N4: Referencepoint between the SMF and the UPF.
N6: Referencepoint between the UPF and a Data Network.
N9: Referencepoint between two UPFs.
N5: Referencepoint between the PCF and an AF.
N7: Referencepoint between the SMF and the PCF.
N8: Referencepoint between the UDMand the AMF.
N10: Referencepoint between the UDM and the SMF.
N11: Reference point between the AMF andthe SMF.
N12: Reference point between AMF andAUSF.
N13: Reference point between the UDM andAuthentication
Server function the AUSF.
N14: Reference point between two AMFs.
N15: Referencepoint between the PCF and the AMF in
case of non-roaming scenario, PCF in thevisited network
and AMF in case of roaming scenario.
N16: Reference point between two SMFs,(in roaming
case between SMF in the visited network and the SMF
in the homenetwork).
N17: Referencepoint between AMF and 5G-EIR.
N18: Referencepoint between any NF and UDSF.
N22: Reference pointbetween AMF and NSSF.
N24: Referencepoint between the PCF in the visited
network and the PCF in the home network.
N27: Reference pointbetween NRF in the visited network
and the NRF in the home network.
2.3.3 系统结构
非漫游情况下基于业务接口的5G系统结构图

非漫游情况下使用参考点的5G系统结构图如下,此图展现网元功能之间相互作用。和其他传统的蜂窝移动网络结构理解思路类似。

非漫游条件下UE使用多个PDU Session同时接入两个数据网络的情况。此图使用参考点来展示了为多个PDU
Session选用两个SMF的场景。在这种情况下每个SMF也能够为一个PDU Session来控制local和central的UPF。

非漫游场景下使用单一PDU session同时接入两个数据网络 (local
andcentral)的结构。

漫游场景的系统图很多,也很复杂,详见23.501
非3gpp接入的看一个图,其他情况详见23.501

5GC和EPC互操作的结构,看一下非漫游场景,其他场景见23.501

三、协议栈
3.1 5G-AN和5GC的接口(N2)
NG-AP协议定义在38.413中,SCTP协议定义在RFC 4960。




N2-SM消息是NG-AP消息的一部分,这部分消息由AMF负责透传。从接入网的角度N2-SM消息终结于AMF。
3.2 XN接口


3.3 空口


3.4 UE和5GC接口
N1 NAS信令的终结点为UE和AMF,一个NAS信令连接用于注册管理/连接管理(RM/CM)和会话管理(SM)。NAS协议由NAS-MM和NAS-SM两部分组成;此外UE和5GC间还有多个其它协议(SM、SMS、UE
policy、LCS等),这都协议都是通过N1 NAS-MM进行透传的。
RM/CM NAS消息和其它类型的NAS消息是解耦的,也就是AMF负责RM/CM,其它的消息就透传给对应的模块去处理。
位于AMF的NAS-MM负责:
1)维护处理RM/CM的状态和对应流程处理,
2)提供安全的NAS消息传输通道(也即NAS层的加密和完保),
3)透传其它类型的NAS消息(SM、SMS、UE Policy、LCS)。
如果UE同时通过3GPP和non-3GPP接入网接入5GC,那么每个接入模式下都有一个N1
NAS信令连接。

3.4.1 UE—AMF

NAS-MM: NAS-MM协议负责注册管理、连接管理、用户面连接的激活和去激活操作,负责NAS消息的加密和完保。5G
NAS协议定义在 TS 24.501.
5G-AN Protocol layer: 接入网的协议栈取决于具体的接入网类型;如果从eNB接入,则对应的空口协议栈定义在TS36.300,如果从gNodeB接入,则对应的空口协议定义在TS38.300,如果从non-3GPP网络接入,则对应的协议栈定义在TS23.501
8.2.4章节。
3.4.2 UE—SM

NAS-SM: NAS-SM消息支持用户面PDU会话的建立、修改、释放;NAS-SM消息通过AMF传输,且其对AMF是透明的(也就是AMF负责透传SM消息、不对其进行解析处理)。具体的消息和流程见于协议TS
24.501。
3.4.2 UE PDU会话的用户面协议栈

N3口使用GTP-U协议,这和3G/4G一样,GTP-U定义于TS29.281;5G-AN用户面协议栈取决于具体的接入网类型。
3.5 F1接口协议

3.6 non-3GPP接入


IKEv2见于RFC7296《Internet Key Exchange Protocol Version
2》
3.7 5GC—5GC
5GC内部网元之间的接口为SBI接口,采用HTTP服务的形式。SBI接口有:Namf,
Nsmf, Nudm, Nnrf, Nnssf, Nausf, Nnef, Nsmsf, Nudr,
Npcf, N5g-eir, Nlmf。

上图就是SBI协议栈(图片来源TS29.500 5.1章节),采用互联网常用的HTTP/TCP协议,HTTP/2请参考RFC
7540。
|